Zum Hauptinhalt springen Zur Suche springen Zur Hauptnavigation springen
ab 100,00 € Versandkostenfrei! Gilt auch für Speditionsware!
100% Geld-Zurück-Garantie
Mo-Do, 15:00 - 17:00 Uhr, Freitag 14:00 - 17:00 Uhr, Samstag 09:00 Uhr 17:00 Uhr
24/7 Mailsupport
Herzlich Willkommen bei Meerwasser Terworth ! 3% extra Rabatt bei Vorkasse
Barrierefreiheit
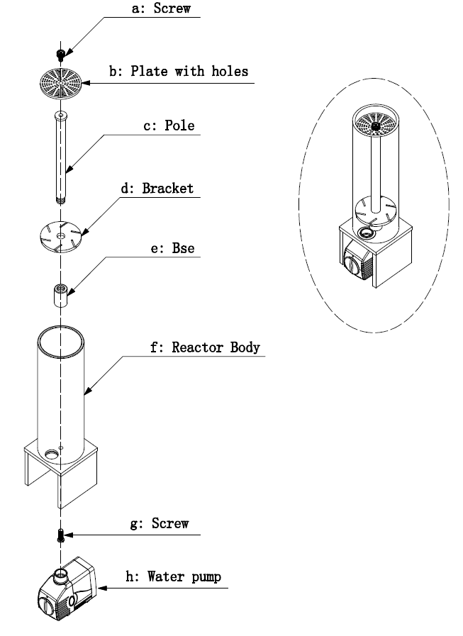
ReefOctopus Octo BioReact 90 intern

175,00 €

% 214,00 € (18.22% gespart)
Produkt Anzahl: Gib den gewünschten Wert ein oder benutze die Schaltflächen um die Anzahl zu erhöhen oder zu reduzieren.